国産2WDバイク
FORTUNA
現在(2011年)、販売されている国産の2WDバイク。「Fortuna」。
後輪から、駆動力をチェーンで前輪に伝える2WD。
「Fortuna」社のWebサイトの、2010/09/21の記事によると ―
二輪駆動自転車「FORTUNA」プロトタイプを完成。ハンドルを切りながらでも前輪を駆動。 大幅な軽量化を実現し、走行性能を向上。(株)GFIX及び(株)VISIXは、東京理科大学より二輪駆動自転車特許の独占的実施権を共同にて取得し、(株)GFIXが開発。
とあり、現在(2016/11)でもその「記事」を読むことは出来る。
また、2010/11/08の記事では ―
(株)GFIXは、日本ロボティクス(株)と共同開発した、新型AWD自転車(二輪駆動自転車)「FORTUNA」を製品化。従来の二輪駆動自転車の問題を、特許出願技術「ダブルジョイント」で解決。
高い走行パワーと安定性を実現。モデル名「FORTUNA-DREAM」を、2010年12月中旬より販売開始予定。
とある。
特に、ハンドルを切りながらでも前輪を駆動し、従来の二輪駆動自転車の問題を、特許出願技術「ダブルジョイント」で解決。
これを読んだ時、すごいバイクができたものだと思った。
「ハンドルを切りながらでも前輪を駆動」できるという!。
前回紹介した「クリスティーニ」も、実現できていない。
どうやって前後輪の回転差を吸収したのだろうか。
ところで以前、(有)シェスコ(Shesco)が「2WD BIKE」を販売していた。
このバイクには、ギア式のトルクステアキャンセラーが付いている(注1)。
東京理科大の小林氏と「日本ロボティクス株式会社」の共同開発による装置で、スムーズなハンドリングを実現しているという。
「ダブルジョイント」よりも、ハンドルの切れ角は大きく取れそうである。
二輪駆動自転車「FORTUNA」は、全てチェーン駆動である。つまり、トルクステアは発生しない。
ハンドルポストの下にあるジョイント部分が折れて、ステアリングに追随するようになっている。この部分に、「ダブルジョイント」機構が用いられているようである。
所で、最大の疑問点。
「FORTUNA」は、ハンドルを切りながらでも駆動がかかるとある。
サイトを見ても、ネットで検索しても、その理由が判らないので直接問い合わせた。
前後輪は、同期する。よって問題なく前輪を駆動するとのこと。
(デフも付いていないのに?、よく判らない)
説明では、「タイヤとフレームの捻じれと、滑りやすい路面で、ある程度パワーを掛けて漕ぐことにより、後輪がすべり気味になり、前後輪は同期する」ということ。
担当者は最後に、前輪にはフリーホイールハブを入れてあると言った。
「!!!!」
フリーホイールハブを入れてあるということは、サイトには書かれていない。
フリーホイールハブを入れてあるが、コーナーでも前輪は駆動されるという。
コーナーでも前輪を駆動するということは、同期するということである。しかし、フリーホイールハブが入っているということは、前輪を駆動しない瞬間も、必ずあるということだ。
そしてそれは、サイトの謳い文句に反するのではないのか?。
これでは、トルクステアの問題からは解放されているが、クリスティーニと変わらないのではないかと思う
従来の2WDの問題を解決し、高い走行性能を実現したとあるが、疑問は残ったままである。
感じたのは、消費者へ対し、きちんとした説明がないということ。
実際に試乗してみないと最終的な判断、評価はできないと思うが・・・。
以前、同じレイアウトで(おそらく同じ機構)、「Tretta」というバイクが販売されていた。正確な発売時期、発売元等は不明(画像上)。
ネットでの使用者のコメントは、「回転差を吸収するために前輪ハブにラッチがあるのですが、そのためにバックはできない(無理にバックさせると壊れる)といった注意点があったりします」とある。
バックが出来ないというのは謎だが、まさしく、フリーホイールハブが装着されているわけである。
ダブルジョイント
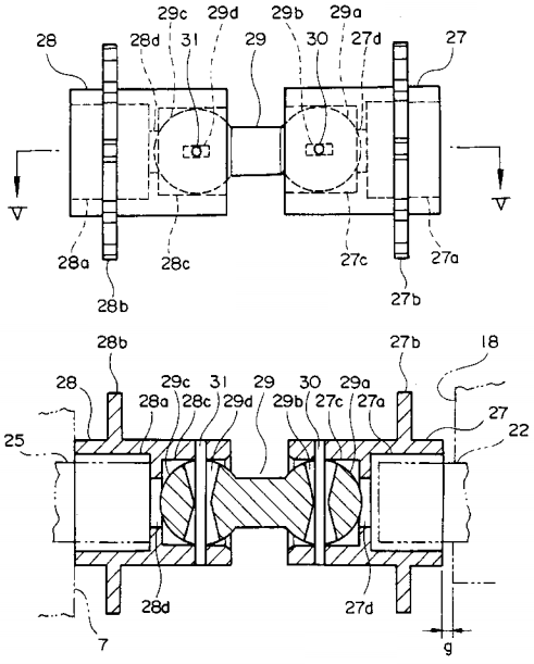
下図は、特許広報よりコピーしたダブルジョイントの構造部分である。
発明の名称:回転伝達装置及びそれを用いた車両
特許出願:2007-512407
発明者:小関光弘
出願者:東京理科大学
特許出願文の説明では以下のことが述べられている。
2個のユニバーサルジョイントを用いているため、1個の場合に比べて、ステアリング中心を高精度で一致させる必要がなく、加工精度を低くしてコストの削減を図ることが出来る。
また、ステアリングの旋回角度を大きく取ることができる。

ダブルドライブ
「FORTUNA」は、製造中止になったらしい。
今日では、(株)ダブルが、パテントを買い、「ダブルドライブ」という商品名で販売を行っている。
基本構造はほぼ同じだが、強度的にも改良が施されているように見える。
また、価格もかなり下げられている。
勿論、前輪にはフリーホイールハブが使用されている。
注1:1つ余計にギアを噛ますことにより、ハンドルを切った方向とは逆方向に前輪へ行くシャフトを回す。これにより、シャフトはハンドル操作の影響を受けない。
上下2組のギアで構成されているが、基本的に下のセットだけで機能する。上のセットは、シャフト上部の支持用。
参照: